Toute l'Actualité
Une BMW mythique signée Rauschenberg exposée pour la première fois en Asie
La BMW 635 CSi Art Car de Robert Rauschenberg débute à Art Basel Hong Kong 2026. Ce collage artistique célèbre l'œuvre de Rauschenberg, fusionnant art et vie, tout en soulignant ses influences historiques et environnementales.
Le nouveau Citroën C5 Aircross débute déjà dans le peloton du Giro 2026
Le Citroën C5 Aircross a fait ses débuts officiels lors des Strade Bianche, symbolisant le partenariat avec RCS Sport pour 2026, comme voiture officielle du Giro d'Italia et d'autres compétitions.
60 ans déjà : l’Alfa Romeo Spider Duetto, le roadster devenu une icône mondiale
Le Spider Alfa Romeo, surnommé Duetto, incarne l'élégance intemporelle, fruit du dernier projet de Battista Pininfarina. Devenu une icône grâce à "Le Lauréat," il symbolise style et liberté, fascinant toujours après soixante ans.
Mercedes-Benz VLE électrique 2026 : une grande limousine luxueuse de 700 km d’autonomie et...
Mercedes-Benz a présenté le VLE, une limousine électrique innovante avec une autonomie de 700 km et un intérieur modulable pour jusqu'à huit passagers. Son architecture optimise l'espace, intégrant technologie avancée et systèmes de conduite intelligents.
Dacia Striker 2026 : Prix, motorisations, et tout ce que vous devez savoir !
Dacia présente le Striker, un nouveau crossover hybride/4x4, mesurant 4,62 mètres. Avec un prix inférieur à 25 000 €, il vise les familles et les professionnels cherchant un véhicule spacieux et accessible sur le marché européen.
Bugatti pousse le luxe à l’absurde : ces options valent une fortune
Chez Bugatti, l'achat d'une hypercar va au-delà du prix de base, avec des options coûteuses qui ciblent le statut et l'expérience plutôt que la performance, créant un luxe absurde.
Renault prépare un retour surprise : l’Espace redeviendra un monospace en 2028
Renault dévoile le concept R-Space Lab, un monospace de 4,5 mètres qui abandonne le style SUV. Il sera équipé de technologies avancées, proposant à la fois une version électrique et une à prolongateur d'autonomie, prévue pour 2028.
Ces deux Toyota sont les voitures les plus volées en France
En 2025, les vols de véhicules en France ont diminué de 6 %, mais les voleurs s’organisent davantage, ciblant surtout des modèles hybrides comme les Toyota. Les protections doivent être renforcées malgré la baisse des statistiques.
Dacia Striker 2026 : Le voici ! (photos et vidéo officielles)
La Dacia Striker 2026, nouveau break crossover, se distingue par son design audacieux et ses motorisations variées, incluant GPL, hybride léger et Full Hybrid, tout en visant un tarif compétitif autour de 22 000 €, ciblant le segment C.
Top Marques Monaco 2026 promet le show : hypercars inédites et 235 voitures d’exception
Le Top Marques Monaco se tient du 6 au 10 mai 2026 au Grimaldi Forum, présentant 235 véhicules de luxe. Une nouveauté cette année est le Luxury Tuners Hall. Des premières mondiales sont également attendues.
Le virage chinois de Renault : pourquoi Geely s’impose au cœur du groupe
La relation entre Renault et Geely évolue, passant d'accords techniques à des collaborations stratégiques, notamment sur l'électronique embarquée, posant des défis pour la souveraineté technologique de Renault.
BYD FLASH Charging en Action Réelle : 10 % → 70 % en 5...
BYD a annoncé une innovation majeure avec sa Blade Battery 2.0 et la technologie FLASH Charging, permettant des recharges ultra-rapides. Le déploiement de 20 000 stations FLASH en Chine d'ici fin 2026 marque une avancée significative dans l'autonomie électrique.
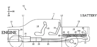
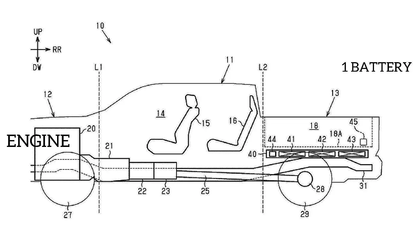
Toyota : des brevets dévoilent un futur pick-up hybride rechargeable
Toyota prépare un pick-up hybride rechargeable. De nouveaux brevets révèlent deux solutions inédites pour intégrer une batterie dans un pick-up à châssis séparé.
Mercedes-Benz VLE électrique 2026 : une grande limousine luxueuse de 700...
Mercedes-Benz a présenté le VLE, une limousine électrique innovante avec une autonomie de 700 km et un intérieur modulable pour jusqu'à huit passagers. Son architecture optimise l'espace, intégrant technologie avancée et systèmes de conduite intelligents.
Dacia Striker 2026 : Prix, motorisations, et tout ce que vous...
Dacia présente le Striker, un nouveau crossover hybride/4x4, mesurant 4,62 mètres. Avec un prix inférieur à 25 000 €, il vise les familles et les professionnels cherchant un véhicule spacieux et accessible sur le marché européen.
Dacia Striker 2026 : Le voici ! (photos et vidéo officielles)
La Dacia Striker 2026, nouveau break crossover, se distingue par son design audacieux et ses motorisations variées, incluant GPL, hybride léger et Full Hybrid, tout en visant un tarif compétitif autour de 22 000 €, ciblant le segment C.
Révélation inattendue : Voici la silhouette de la future Volkswagen Golf...
C'est par une voie inhabituelle que la première image officielle de la prochaine Volkswagen Golf a filtré. Lors d'une réunion du comité d'entreprise à Wolfsburg, le syndicat allemand IG Metall a présenté aux salariés une silhouette sombre...
BMW i3 Neue Klasse de 469 ch : RDV le 18...
La BMW i3, développée dans des conditions extrêmes en Suède, se présente comme une berline électrique à l'héritage de la Série 3. Sa technologie Heart of Joy promet une dynamique de conduite révolutionnaire, avec une production prévue pour fin 2026.
Audi A2 e-tron : ces nouvelles photos espion révèlent enfin l’intérieur
La future Audi A2 e-tron, actuellement en phase de développement, se distingue par un design innovant, un intérieur inspiré des modèles récents d'Audi et des performances de motorisation similaires à la Cupra Born. Production prévue en 2026.
Dacia Striker : sur les réseaux, le nom ne fait pas...
Dacia a annoncé le 5 mars 2026 le nom de son nouveau break crossover familial, nommé Striker, prévu pour le reveal du design le 10 mars. Les réactions sont partagées entre enthousiasme et critiques.
Renault Bridger : un mini Duster de moins de 4 mètres...
Renault dévoilera le 10 mars le concept Bridger, un SUV cubique de moins de quatre mètres, destiné aux marchés émergents, privilégiant la praticité et la robustesse sur le raffinement.
Le nouveau Citroën C5 Aircross débute déjà dans le...
Le Citroën C5 Aircross a fait ses débuts officiels lors des Strade Bianche, symbolisant le partenariat avec RCS Sport pour 2026, comme voiture officielle du Giro d'Italia et d'autres compétitions.
Le virage chinois de Renault : pourquoi Geely s’impose...
La relation entre Renault et Geely évolue, passant d'accords techniques à des collaborations stratégiques, notamment sur l'électronique embarquée, posant des défis pour la souveraineté technologique de Renault.
CarBox AI s’installe dans les 65 agences du Groupe...
CarBox AI a intégré sa technologie d'IA dans le DMS de BH Car, permettant une création automatique de visuels de véhicules. Cela optimise le processus, préserve l'image de marque et réduit les efforts des franchisés.
Dacia charge Bruxelles : « Les normes européennes font...
Katrin Adt, PDG de Dacia, dénonce l'impact des réglementations européennes sur les prix des voitures, tout en plaidant pour une catégorie M1E et une électrification abordable, tout en soulignant les défis à venir.
9 990 € pour la Fiat Pandina Hybrid :...
La Fiat Pandina Pop Hybrid 1.0 BSG est à 9 990 euros en France grâce à une prime de reprise. Cette offre, valable jusqu'au 31 mars 2026, attire les propriétaires de vieux véhicules.
Leapmotor casse les prix en Espagne avec jusqu’à 4...
Leapmotor Espagne lance une campagne innovante permettant aux clients de bénéficier immédiatement d'une aide gouvernementale de 3 375 euros pour l'achat de véhicules électriques, réduisant ainsi le coût d'acquisition et facilitant l'expérience de recharge.
Opel progresse de 51 % en France en février...
En février 2026, Opel connaît une augmentation de 51,1 % de ses ventes en France, soutenue par des modèles populaires. Les commandes individuelles augmentent de 65 %, confirmant la tendance positive.
Alfa Romeo bondit de 20 % en 2025 et...
Alfa Romeo a enregistré une hausse de 20,1 % de ses ventes en 2025, portée par le Junior. En Europe, la marque retrouve des parts de marché malgré la restructuration de Stellantis.
Stellantis convoque son AGA 2026 : Elkann reconduit, un...
Stellantis tiendra son Assemblée Générale Annuelle le 14 avril 2026 à Amsterdam, marquée par la réélection de dirigeants clés et l'arrivée de Juergen Esser, crucial pour la transformation numérique et financière.
Citroën casse le prix de l’électrique en Suisse avec...
Citroën lance l'ë-C3 Urban Range à 18 990 francs en Suisse, ciblant les trajets urbains avec 204 km d'autonomie. Ce véhicule électrique d'entrée de gamme assure confort, praticité et production locale, rendant l'électrique accessible aux ménages suisses.
Opel façonne les champions du rallye : comment la marque prépare...
Opel Motorsport forme des pilotes de rallye depuis plus de dix ans avec un système structuré, révélant des talents européens et maintenant, avec le rallye électrique, elle ouvre la voie à des compétitions innovantes pour l'avenir.
Lancia Ypsilon Rally2 : Gryazin deuxième au Rallye de Foligno
Le Rally Città di Foligno a marqué le début du Championnat d'Italie des Rallyes Terre 2026 pour Lancia Corse. Nikolay Gryazin a terminé deuxième, tandis que l'équipe a récolté des données cruciales pour le développement futur.
MXGP 2026 : Yamaha lance l’assaut pour le titre dès l’Argentine
Le Championnat du Monde FIM Motocross 2026 débute en Argentine à Bariloche. Les équipes Yamaha, emmenées par Gajser, Renaux et les frères Reisulis, visent les titres grâce à un circuit inédit.
La mythique Lancia Delta Integrale exposée à Bruxelles pour les 120...
Du 27 février au 19 avril 2026, l'exposition « Lancia 120 Years » au musée Autoworld illustre l'innovation de Lancia en automobile et son succès en rallye.
Lancia perd l’une de ses grandes figures : Sandro Munari s’est...
Sandro Munari, pilote légendaire de rallye, est décédé à 85 ans. Ses victoires avec Lancia, notamment quatre à Monte-Carlo, ont marqué l'histoire du sport automobile et laissé un héritage technique durable dans la compétition.
BYD devient la Safety Car et Leading Car aux championnats FFSA...
BYD devient partenaire officiel des championnats FFSA GT et Tourisme à partir de 2026. Deux de ses véhicules assureront les rôles de Safety Car et Leading Car, visant une visibilité accrue auprès des passionnés de sport automobile.
213 km/h en drift : la Chine prend le record du...
La Hyptec SSR, hypercar électrique produite par GAC Aion, détient le record du drift à 213,52 km/h, prouvant les capacités techniques des constructeurs chinois face aux géants européens. Une avancée significative dans le secteur automobile.
La Peugeot 9X8 revêt les couleurs de la 205 GTi pour...
Peugeot Sport a dévoilé la livrée de ses 9X8 pour 2026 à Paris, alliant héritage et innovation. La cohérence visuelle inclut l'E-208 GTi, illustrant une stratégie technologique partagée pour la compétition et la route.
MotoGP 2027 : Ducati déjà agacé par le règlement qui vise...
Ducati, leader en MotoGP, fait face à des règlements 2027 visant à limiter son innovation. Claudio Domenicali, PDG, exprime son ambivalence mais reste ambitieux pour l'avenir malgré les défis techniques à venir.












































