Recevez l’essentiel de l’actualité automobile
mercredi 22 avril 2026
pick-up électrique
Actualité Automobile International Marques Nouveautés Toyota Voitures Electriques Voitures Electriques & Hybrides
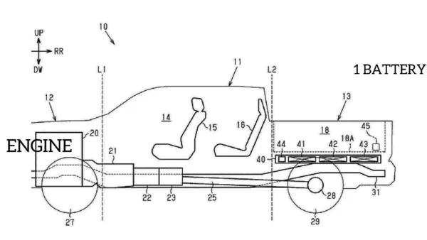
Toyota : des brevets dévoilent un futur pick-up hybride rechargeable
Par Faris Bouchaala
Toyota prépare un pick-up hybride rechargeable. De nouveaux brevets révèlent deux solutions inédites pour intégrer une batterie dans un pick-up à châssis séparé.
Actualité Automobile International Marques Toyota Utilitaires Voitures Electriques Voitures Electriques & Hybrides
Toyota Hilux électrique 2026 : prix, autonomie et fiche technique
Par Faris Bouchaala
Le légendaire Toyota Hilux entre dans une nouvelle ère. Pour sa neuvième génération, le pick-up le plus vendu au monde…
