Toute l'Actualité
Comment trouver le meilleur véhicule adapté à ses besoins dans les DROM : Le...
Quand on vit dans les Départements et Régions d’Outre-Mer, choisir sa voiture, c’est un peu comme choisir un compagnon de route pour une aventure...
Dacia explose tous les compteurs : double podium historique à la Cote d’Amour 2025
Dacia a réalisé une performance historique lors de la 30ᵉ édition de la Cote d’Amour des Constructeurs 2025, remportant deux distinctions majeures et confirmant...
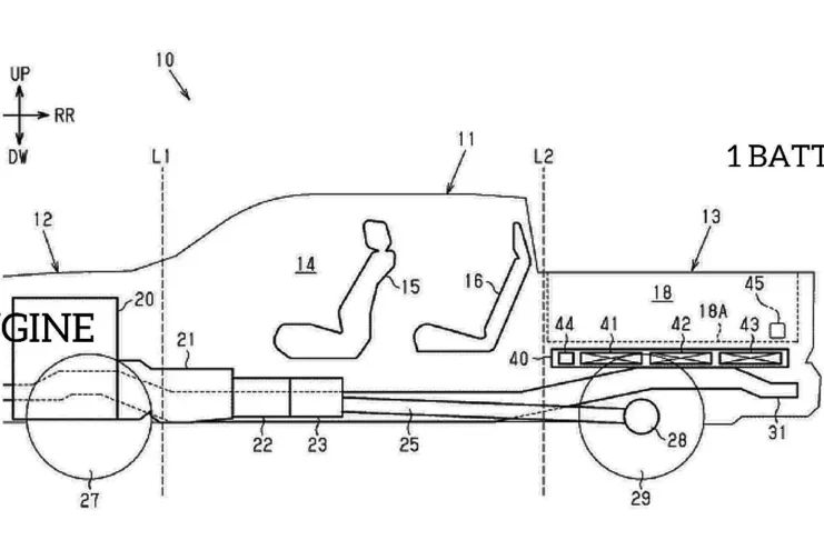
Batteries des hybrides rechargeables : l’angoisse de l’usure est-elle exagérée ?
Acheter un hybride rechargeable d’occasion implique toujours la même hésitation. Pas celle du moteur. Pas celle de l’intérieur. Mais celle, presque invisible, qui repose...
Kia PV5 Cargo pulvérise un record historique : 693 km en électrique, à pleine...
Kia n’a pas seulement coché une case. La marque coréenne a fait voler en éclats un plafond que beaucoup jugeaient symbolique : l’autonomie réelle...
8 Heures de Bahreïn : Peugeot veut écrire une dernière page majuscule
Une saison ne se résume pas à une statistique, mais parfois les chiffres parlent d’eux-mêmes. Sixième au Brésil, troisième aux États-Unis, deuxième au Japon...
Stellantis : plus de 100 innovations au cœur du « Factory Booster Day »...
Cette année encore, le « Factory Booster Day » de Stellantis a tenu toutes ses promesses. Organisée à Détroit, cette dixième édition a réuni...
Peugeot Polygon Concept : concept-car révolutionnaire s’invite dans Fortnite !
Peugeot franchit une nouvelle étape dans sa transformation créative avec la révélation du Peugeot Polygon Concept, une étude de style qui préfigure la vision...
BOTTEGAFUORISERIE : l’alliance d’Alfa Romeo et Maserati pour sublimer l’excellence italienne
L’Italie automobile s’offre un nouvel écrin. Alfa Romeo et Maserati s’unissent pour donner naissance à BOTTEGAFUORISERIE, un projet inédit qui célèbre le savoir-faire, l’artisanat...
Leapmotor signe un mois d’octobre historique avec plus de 70 000 livraisons en Chine
Le constructeur chinois Leapmotor poursuit son ascension fulgurante. En octobre, la marque a livré 70 289 véhicules sur son marché domestique et à l’international,...
Ducati à l’EICMA 2025 : puissance, design et innovation pour une édition exceptionnelle
À la veille de son centenaire, Ducati s’apprête à marquer de son empreinte l’EICMA 2025, le grand salon international de la moto à Milan....
Nouvelle BMW F 450 GS 2026 : la mini aventurière qui promet un vrai...
BMW Motorrad dévoile enfin la nouvelle F 450 GS, une moto pensée pour ceux qui veulent vivre l’esprit GS sans passer par les gros...
Nouvelle Renault Twingo 2026 : la citadine électrique se dévoile avant l’heure !
Surprise ! La nouvelle Renault Twingo E-Tech electric vient de faire une apparition remarquée sur la toile. Des images publiées sur le forum Worldscoop...
Citroën et Rip Curl : l’esprit surfeur s’invite dans le concept Ami Buggy Vision
Citroën renoue avec Rip Curl, la célèbre marque de surf, pour une collaboration qui allie liberté, créativité et innovation. Ensemble, les deux marques dévoilent...
DS 3 : l’élégance sur mesure prend des couleurs
DS Automobiles redéfinit l’art de la personnalisation en dévoilant une nouvelle offre chromatique pour son SUV compact, la DS 3. Avec des teintes de...
321COC : une nouvelle plateforme en ligne pour simplifier la conformité des véhicules en...
L’immatriculation des véhicules importés en Europe vient de franchir une étape décisive. 321COC, un service numérique en pleine expansion, lance une plateforme COC en ligne qui simplifie...
MG EHS Hybrid+ 2026 : 224 ch, une boite à deux rapports, et un...
MG Motor renforce sa présence sur le segment des SUV familiaux avec le MG EHS Hybrid+, une version full-hybrid plus performante, plus efficiente et...
Stellantis dévoile son nouveau moteur 4 cylindres de 2,0 litres
Stellantis franchit une nouvelle étape technologique avec le moteur Hurricane 4 Turbo, un bloc 4 cylindres de 2,0 litres développant jusqu’à 328 chevaux. Présenté...
Stellantis – Fiat Algérie dévoile le Doblo Panorama GPL fabriqué à Oran
Fiat franchit une nouvelle étape sur le marché algérien avec le lancement du nouveau Doblo Panorama GPL, une version inédite qui combine rendement énergétique,...
Opel Frontera : plus d’autonomie pour le SUV électrique à prix réduit
Opel ouvre les commandes de la version électrique à grande autonomie de l'Opel Frontera, dotée d’une batterie plus performante. Une évolution attendue, qui rend...
Nio ONVO L90 : Record de 30 000 Livraisons en 86 Jours
ONVO, la marque familiale de NIO, célèbre un exploit fulgurant : le L90, son grand SUV électrique, atteint 30 000 livraisons seulement 86 jours...
La Mercedes 300 SL en Teck aux enchères : Une icône en bois qui...
Une Mercedes 300 SL en teck, produite en bois imputrescible ? Cette création unique, conçue par l’artiste Remi Le Forestier, sera mise aux enchères...
Honda dévoile une gamme globale au salon de la mobilité du Japon 2025 :...
Honda expose une vision complète de la mobilité au Salon de la Mobilité du Japon 2025 (22-29 octobre 2025, Tokyo Big Sight), avec des...
Ampere et Stratus Materials : Un accord pour des cathodes sans cobalt dans les...
Ampere, la branche véhicules électriques et logiciels de Renault Group, signe un accord de développement commun (JDA) avec Stratus Materials Inc., leader en matériaux...
Volkswagen : Deux millions de véhicules Car2X pour une sécurité routière révolutionnée
Volkswagen Group franchit une étape majeure dans la sécurité routière : plus de deux millions de véhicules équipés de la technologie Car2X ont été...
Honda repousse les limites du lifestyle avec 80 nouvelles pièces de vêtements
Honda, marque emblématique de l’ingénierie motocycliste et de la performance, s’aventure plus profondément dans l’univers lifestyle avec une collection de vêtements inédite. Ce lancement...
BMW Group : Premier en allemagne avec l’homologation DCAS pour l’iX3 2026
BMW Group marque une avancée majeure en devenant le premier constructeur allemand à obtenir l’homologation internationale pour ses systèmes d’assistance à la conduite de...
Seat Ibiza 2026 : presque 10 ans de carrière, est-elle toujours compétitive ?
Seat prolonge la carrière de l’Ibiza avec un second restylage pour 2026. Loin de tirer sa révérence, cette cinquième génération, lancée en 2017, s’offre...
MV Agusta Enduro Veloce 2026 : Précision, puissance et style pour l’aventure pure
MV Agusta dévoile la Enduro Veloce 2026, une adventure italienne qui allie design raffiné, ingénierie de pointe et plaisir de conduite. Elle évolue avec...
Volkswagen Golf GTI Edition 50 : commandes ouvertes, voici son prix !
Volkswagen célèbre le 50e anniversaire de la Golf GTI avec l’Edition 50, et ouvre les commandes en Allemagne. Cette version limitée, la plus puissante...
Dubai International Baja 2025 : Le final mondial des Bajas se tiendra fin novembre
Le Dubai International Baja se tiendra du 20 au 23 novembre 2025. Organisé par l’Emirates Motorsports Organization (EMSO), cet événement marque la clôture de...
Fiat Grande Panda : Unique italienne finaliste du Car of the Year 2026
La Fiat Grande Panda s’impose comme la seule représentante italienne parmi les sept finalistes du Car of the Year 2026, l’un des prix automobiles...
Nouveau Citroën C5 Aircross : Finaliste du prix Car of the Year 2026
Citroën célèbre une étape majeure : le nouveau C5 Aircross figure parmi les sept finalistes du prestigieux Car of the Year 2026 (COTY). Sélectionné...
Volkswagen Group affiche +0.6% de CA sur les neuf premiers mois de 2025
Volkswagen Group affiche des résultats contrastés pour les neuf premiers mois de 2025. Le chiffre d’affaires atteint 238,7 milliards d’euros (+0,6 % vs 2024),...
Nico Hulkenberg enchérit son casque du GP du Mexique 2025 pour une bonne cause
Le pilote de Stake F1 Team KICK Sauber, Nico Hulkenberg, met aux enchères son casque édition spéciale du Grand Prix du Mexique 2025, couru...
Toyota dévoile la future Corolla au Salon de la Mobilité du Japon 2025
Toyota a levé le voile sur la prochaine génération de la Corolla lors du Salon de la Mobilité du Japon 2025, qui s’est tenu...
Dacia Bigster : Finaliste de Car of the Year 2026
Dacia Bigster figure parmi les sept finalistes du prestigieux Car of the Year 2026, un trophée décerné par un jury indépendant de 59 journalistes...
Skoda Auto : 3e en Europe et croissance mondiale au T3 2025
Skoda Auto consolide sa troisième place parmi les marques les plus vendues en Europe au cours des neuf premiers mois de 2025. Le constructeur...
Carlos Tavares s’excuse pour les Airbags Takata et alerte sur l’avenir de Stellantis
Dix mois après son éviction de Stellantis, Carlos Tavares rompt le silence dans son livre Un pilote dans la tempête, publié chez Plon. Dans...
Citroën Ami Dark Side : une série spéciale noire mat pour Halloween
Citroën lance la série spéciale Ami Dark Side, juste pour Halloween. Cette édition limitée adopte une teinte Black Night mat inédite, contrastée par des...
Stellantis : +13 % de chiffre d’affaires au T3 2025
Stellantis a dévoilé ses résultats trimestriels en nette progression avec un chiffre d’affaires net de 37,2 milliards d’euros, en hausse de 13 % sur...
Ducati 1926-2026 : Un centenaire de passion italienne lancé avec logo et World Ducati...
Ducati célèbre son centenaire en 2026, marquant 100 ans depuis sa fondation le 4 juillet 1926 à Borgo Panigale (Bologne). De la radio aux...
Mazda Vision X-Coupe et X-Compact : Deux concepts sportifs et innovants au salon de...
Mazda dévoile au Salon de Tokyo 2025 deux concepts audacieux : la Vision X-Coupe, grand coupé hybride rechargeable à moteur rotatif, et la Vision...
SEAT Ibiza et Arona restylées 2026 : Infos et prix
SEAT célèbre ses 75 ans en dévoilant les versions restylées de l’Ibiza et de l’Arona, deux piliers de sa gamme avec plus de 6...
Stellantis s’allie à NVIDIA, Uber et Foxconn pour les robotaxis de niveau 4
Stellantis annonce une collaboration majeure avec NVIDIA, Uber Technologies et Foxconn pour développer et déployer des véhicules autonomes de niveau 4 (sans conducteur) destinés...
DS Automobiles lance les tests officiels de la saison 12 de Formule E à...
DS Automobiles entame les tests pré-saison 12 du championnat du monde ABB FIA de Formule E sur le circuit Ricardo Tormo de Valence (Espagne),...
Jeep Compass 3 2026 : Production lancée à Melfi, 650 km d’autonomie et polyvalence...
Jeep célèbre le démarrage de la production de la troisième génération Compass à l’usine Stellantis de Melfi, en Italie, le 29 octobre 2025. Le...
Stellantis Honore 54 Fournisseurs Mondiaux lors de sa 5e Cérémonie des « Supplier of...
Stellantis a récompensé 54 fournisseurs internationaux exceptionnels lors de sa cinquième édition annuelle des « Supplier of the Year Awards », qui s’est déroulée...
Fiat Professional Doblò : 25 Ans de polyvalence urbaine, célébrés avec l’édition anniversaire
Le Fiat Professional Doblò célèbre ses 25 ans en 2025, marquant un quart de siècle de succès pour ce fourgon compact polyvalent, lancé en...
Seat Ibiza 2026 : presque 10 ans de carrière, est-elle toujours...
Seat prolonge la carrière de l’Ibiza avec un second restylage pour 2026. Loin de tirer sa révérence, cette cinquième génération, lancée en 2017, s’offre...
Citroën Ami Dark Side : une série spéciale noire mat pour...
Citroën lance la série spéciale Ami Dark Side, juste pour Halloween. Cette édition limitée adopte une teinte Black Night mat inédite, contrastée par des...
SEAT Ibiza et Arona restylées 2026 : Infos et prix
SEAT célèbre ses 75 ans en dévoilant les versions restylées de l’Ibiza et de l’Arona, deux piliers de sa gamme avec plus de 6...
Omoda & Jaecoo lancées en France : L’Hybride comme « Nouveau...
Le géant chinois Chery, 2e producteur auto de Chine avec 2,6 millions de ventes en 2024 (dont 1,14 million exportées, +53 % sur un...
Honda Civic 2026 : Motorisations et Prix
La Honda Civic 2026 s’offre une évolution mesurée mais ciblée. La berline compacte japonaise, emblématique depuis plus d’un demi-siècle, gagne en modernité sans renier...
KTM 990 RC R 2026 : la nouvelle supersport autrichienne se...
L’attente a été longue, mais KTM tient sa promesse. Après plusieurs mois de retards liés à des contraintes financières, la KTM 990 RC R...
Volkswagen Touareg tire sa révérence avec une Final Edition V6 3.0...
Volkswagen clôture un chapitre épique de 23 ans avec la Touareg Final Edition. Cette édition limitée célèbre la fin de la production thermique du...
Fiat Scudo Onyx : une version sportive et élégante lance en...
Fiat Professional introduit une nouvelle déclinaison de son fourgon polyvalent. Le Scudo Onyx mise sur une allure sportive et une présentation raffinée. L’objectif est...
Nouvelle Renault Mégane E-Tech 2026 : une nouvelle batterie en entrée...
La Renault Mégane E-Tech, compacte électrique lancée en 2022 et emblème de la transition verte du losange, se prépare à un renouveau. Elle intégrera...
Comment trouver le meilleur véhicule adapté à ses besoins...
Quand on vit dans les Départements et Régions d’Outre-Mer, choisir sa voiture, c’est un...
Dacia explose tous les compteurs : double podium historique...
Dacia a réalisé une performance historique lors de la 30ᵉ édition de la Cote...
Leapmotor signe un mois d’octobre historique avec plus de...
Le constructeur chinois Leapmotor poursuit son ascension fulgurante. En octobre, la marque a livré...
Volkswagen Group affiche +0.6% de CA sur les neuf...
Volkswagen Group affiche des résultats contrastés pour les neuf premiers mois de 2025. Le...
Skoda Auto : 3e en Europe et croissance mondiale...
Skoda Auto consolide sa troisième place parmi les marques les plus vendues en Europe...
Stellantis : +13 % de chiffre d’affaires au T3...
Stellantis a dévoilé ses résultats trimestriels en nette progression avec un chiffre d’affaires net...
Geely accélère en Europe : PHEV élargie, EX5 EV...
Geely, le géant automobile chinois, intensifie son offensive européenne en 2025 avec une gamme...
Renault Clio 6 2026 : À 19 900 €...
Renault ouvre les commandes de la Clio 6, avec un prix d’entrée à 19...
Honda Prelude 2025 : 2 400 commandes en un...
Lancée en septembre dernier au Japon, la nouvelle Honda Prelude a dépassé toutes les...
Omoda & Jaecoo lancées en France : L’Hybride comme...
Le géant chinois Chery, 2e producteur auto de Chine avec 2,6 millions de ventes...
Carlos Tavares : Stellantis au Bord de la Rupture,...
Dix mois après son éviction, Carlos Tavares, ex-CEO de Stellantis, lâche une bombe dans...
Renault Group : Croissance solide au T3 2025, objectifs...
Renault Group consolide son momentum avec un chiffre d'affaires en hausse de 6,8 %...
Fin des voitures thermiques en 2035 : la France...
La France et l’Espagne ont réaffirmé leur soutien ferme à l’interdiction des ventes de...
Stellantis : une rentrée explosive et un leadership assumé...
En septembre 2025, Stellantis s’offre un net rebond sur le marché européen. Le groupe...
BYD Détronne Tesla : Le Géant Chinois Leader Mondial...
Pour la première fois, BYD dépasse Tesla sur les ventes mondiales de véhicules électriques,...
8 Heures de Bahreïn : Peugeot veut écrire une dernière page...
Une saison ne se résume pas à une statistique, mais parfois les chiffres parlent d’eux-mêmes. Sixième au Brésil, troisième aux États-Unis, deuxième au Japon...
Dubai International Baja 2025 : Le final mondial des Bajas se...
Le Dubai International Baja se tiendra du 20 au 23 novembre 2025. Organisé par l’Emirates Motorsports Organization (EMSO), cet événement marque la clôture de...
Nico Hulkenberg enchérit son casque du GP du Mexique 2025 pour...
Le pilote de Stake F1 Team KICK Sauber, Nico Hulkenberg, met aux enchères son casque édition spéciale du Grand Prix du Mexique 2025, couru...
DS E-TENSE FE25 : Or et Noir, Prête à Briller en...
À quelques jours des essais pré-saison sur le circuit Ricardo Tormo de Valence (27-31 octobre 2025), DS Automobiles et PENSKE AUTOSPORT lèvent le voile...
Tatiana Calderon au volant de la Citroën Formula E : Un...
Quelques jours après le lancement officiel du Citroën Racing Formula E Team à Paris, l’équipe annonce que la pilote colombienne Tatiana Calderon prendra le...
Citroën dévoile sa monoplace Formule E : Vergne et Cassidy aux...
Citroën fait son grand retour en sport auto avec une monoplace GEN3 Evo tricolore, engagée en Championnat du Monde ABB FIA Formule E dès...
Michael Schumacher – Intox : La sortie du coma date de...
Une rumeur refleurit sur les réseaux sociaux : Michael Schumacher, icône intemporelle de la Formule 1, aurait repris conscience après un coma, selon une...
Dacia Sandriders signe un double exploit au Rallye du Maroc
Le désert marocain a vibré cette semaine. Pour fêter leur première année en compétition, les Dacia Sandriders ont décroché deux triomphes retentissants : une...
Mercedes-AMG fête un record historique avec sa 500e voiture de sécurité...
Lors du Grand Prix des États-Unis à Austin, un jalon majeur s’écrit dans l’histoire de la Formule 1. Pour la 500e fois, une voiture...





























































































